大東海泵業無錫有限公司是一家專業的單級消防泵生產廠家。在客戶單級消防泵選型時,我公司水泵廠家會提供完善的單級消防泵型號、單級消防泵價格等售前服務,以供客戶參考,并且我水泵廠家能為客戶提供定制泵業產品的服務。本條產品資訊是關于單級消防泵XBD12.0/40G-L安裝數據及說明的知識:

XBD單級消防泵是一款非常常見的通用消防泵產品,在實際生產生活當中經常會遇到。有時因為自己泵房的空間,或是出于安裝便利的考慮,在采購單級消防泵之前,想先了解一下自己要采購的消防泵產品具體安裝尺寸、參數、重量等信息,這是非常有必要的。
下面,我公司具體給大家列出單級消防泵XBD12.0/40G-L的詳細性能參數:
流量:40L/S;揚程:1.2MPa;電機功率:90KW;轉速:2900r/min
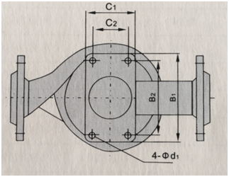
外形尺寸等詳見下表:

|
型號 |
L |
H |
h |
d 1 |
B1×C1 |
B2×C2 |
重量(KG) |
|
XBD12.0/40G-L |
685 |
1390 |
195 |
22 |
345×295 |
300×250 |
720 |
XBD型單級消防泵由電機和泵兩部分組成,消防泵和電機同軸,泵結構包括泵體、葉輪、泵蓋、機械密封等不見組成。泵進、出口在同一水平軸線上,且口徑規格相同,裝卸極為方便,占地面積小。泵設有安裝底座,便于安裝,增加泵運行的穩定性。泵密封采用機械密封,具有密封可靠,無泄露的特點。泵的軸向力由葉輪設平衡環來進行平衡。
單級
消防泵的組成 :
XBD型單級消防泵,供輸送不含固體顆粒的清水及物理化學性質類似于水的液體之用。主要用于消防系統增壓送水,也可用于礦給排水。
XBD單級消防泵的特點:
水力模型先進,效率高,性能范圍廣。立式結構,占地面積小。振動小,噪音低,采用水力平衡軸向力,使泵運行平穩,安全可靠。泵進、出口在同一水平軸線上,且口徑規格相同,便于管路連接, 裝卸極為方便。具有高可靠性,就是長時間停用后,再次起動時不會發生咬死的現象。 效率高、低噪音、地震動。 安裝形式靈活多樣,檢驗方便。
XBD單級消防泵的用途:
主要用于消防系統管道增壓送水,各種場合的消防給水(消防栓滅火系統、自動噴淋滅火系統和水噴霧滅火系統等)。 也適用于各種工業和城市給排水,高層建筑增壓送水、遠距離送水、采暖、浴室、鍋爐冷暖水循環、增壓空調制冷系統送水及設備配套等場合。 消防泵運行的環境溫度不大于40°C,相對濕度小于95%。
XBD單級消防泵產品概述
XBD型單級消防泵組是本司在原有立式單級管道泵基礎上根據消防泵的******標準要求而開發出的新一代XBD管道型中低壓消防泵組產品。供輸送不含固體顆粒的清水及物理化學性質類似于水的液體之用。適用于各種場合如住宅、賓館、辦公大樓、商業大樓、工廠、醫院等處的消防供水。
非常感謝您對大東海泵業無錫有限公司官方網站的訪問!以上是關于單級
消防泵XBD12.0/40G-L安裝數據及說明的介紹,如您對此問題還想深一步了解,或有其他泵業產品、水泵選型、水泵型號、水泵價格的問題需要解答,請聯系本水泵廠家,隨時歡迎您的咨詢。謝謝!