大東海泵業無錫有限公司是一家專業的多級泵生產廠家。在客戶多級泵選型時,我公司水泵廠家會提供完善的多級泵型號、多級泵價格等售前服務,以供客戶參考,并且我水泵廠家能為客戶提供定制泵業產品的服務。本條產品資訊是關于多級泵電機軸瓦為什么容易燒毀的知識:

根據故障發生的規律以及
多級泵的結構特點,我們認為造成電機軸瓦推力面燒損的原因是,由于多級泵轉子運行時巨大的軸向推力瞬時作用于電機軸瓦推力面上。而軸向力是由彈性膠圈聯軸器傳遞的。下面對此觀點進行具體分析:
多級泵轉子軸向力平衡裝置如圖1,在泵啟動時,由于平衡室尚未建立起壓力,平衡盤不起作用,止推盤臨時起軸向力平衡作用,當平衡室建立起壓力后,止推盤只起到輔助作用,止推盤與輔推面之間的間隙為2mm,輔推面起到泵停運時限制轉子的******負軸向位移作用,******位移值為2mm。

圖1 平衡盤、推力盤結構圖
當多級泵在停運后的惰走過程中,轉子在平衡室的余壓及泵中流體向前的流動慣性作用下,泵轉子向高壓端竄動,推力盤緊貼輔推瓦而停下,而由于惰走中聯軸器傳遞力矩小,泵和電機兩對輪之間通過膠圈摩擦力能傳遞軸向力小,電機轉子將基本在運行中的軸向位置停下,這樣,每次停泵后,電機轉子和泵轉子都會在軸向拉開距離約2mm。

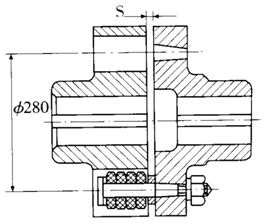
圖2 彈性膠圈聯軸器
而多級泵再次啟動時,由于啟動扭矩很大,兩半對輪間的摩擦力很大,泵轉子在平衡盤向平衡板靠近時向低壓端竄動,將推動電機轉子向遠離泵方向移動。這樣經過多次啟停重復后,兩對輪的距離S(見圖2)逐漸增大,直到出現啟動前電機轉子已停靠在軸向極限位置,即電機軸止推盤已貼住電機軸瓦止推面了(見圖3)。而假如在這種情況下啟動給水泵,平衡盤及推力盤還未起作用前,泵轉子的軸向力將通過聯軸器傳給電機轉子,從而引起電機瓦推力面燒毀。
圖3 電機瓦推力軸承等效圖

解決辦法
1.由于故障發生的前提條件是該
臥式多級泵經過多次啟停后,電機與泵的轉子軸向距離增大到極限位置,在該情況下啟動機泵。針對這一特點,避免上述故障的最簡單力、法是在泵每次啟動前,人為將泵和電機轉子之間的距離恢復到標準位置(圖2 S=5~7mm)。這樣就避免了極限情況的出現,從而避免了上述故障。
2.解決上述故障的******辦法是改進聯軸器。
由于停泵時泵轉子在外力作用下往高壓端軸向竄動,而電機惰走時受的軸向力較小,只要選用齒式聯軸器便尾以確保泵和電機轉子之間的軸向距離在多次啟停后仍符合運行標準。為了便于安裝,我們研究設計制造了以下齒輪聯軸器,如圖4所示安裝時不需對原設備基礎做任何改動。

圖4 新型齒式聯軸器
非常感謝您對以上內容的訪問和閱讀!本條資訊是關于多級泵電機軸瓦為什么容易燒毀的介紹,如您對此問題還想有進一步的了,或想購買此相關產品,請直接聯系我公司客服人員,隨時歡迎您的咨詢。客服聯系電話:133 9511 4288,微信同號解。謝謝!